WPROWADZENIE DO WINDOWS 95
opracował Witold Rudolf
Wiadomości wstępne
Windows 95 jest odpowiedzią programistów firmy Microsoft na pojawienie się procesorów 32-bitowych. Tak jak inne systemy operacyjne, Windows 95 ma jedno i tylko jedno zadanie: zapewnić współpracę pomiędzy sprzętem a oprogramowaniem. Każdy system operacyjny ma strukturę podobną do struktury przedstawionej poniżej.
Aplikacja (aplikacje)
Interfejs aplikacji (API):
Zestaw poleceń, które aplikacja może wydać systemowi operacyjnemu, w rodzaju "otwórz plik" czy "odczytaj znak z klawiatury'.
Jądro (kernel):
Główny zarządca systemu. Odpowiada za wielozadaniowość, zarządzanie pamięcią i przydział urządzeń.
Sterowniki urządzeń:
Programy umożliwiające jądru systemu przyjmowanie ogólnych poleceń i odnoszące je do konkretnych urządzeń, na przykład "odczytaj stan myszy".
Sprzęt
Windows 95 jest znacznie udoskonaloną i bardziej jednolicie zorganizowaną sumą dwóch warstw: DOS-owej (starszy system operacyjny) i graficznej (okienkowej). Takie rozwiązanie zostało przyjęte przez autorów z powodu ciągłego używania programów napisanych i przeznaczonych do pracy wyłącznie pod kontrolą DOS-a. Windows 95 jako system operacyjny tworzy łącznik między użytkownikiem a samym sprzętem. Ten łącznik to interfejs albo inaczej środowisko, w którym komunikujemy się z komputerem.
Windows 95 odpowiada nie tylko za wykonywanie podstawowych funkcji systemu operacyjnego. Oferuje także wiele innych możliwości i narzędzi, takich jak:
Windows 95 ma od tak zaprojektowany wygląd by ułatwić korzystanie z tego systemu. Prostym i użytecznym urządzeniem jest Pulpit. Wzdłuż dolnej krawędzi ekranu biegnie Pasek zadań, zawierający przyciski wszystkich aktualnie działających aplikacji. System ma także wbudowane narzędzia do komunikowania się z użytkownikami innych komputerów.
Obsługa systemu
W systemie Windows 95 komunikacja użytkownika z systemem odbywa się za pośrednictwem tzw. okien dialogowych oraz ikon i głównie z wykorzystaniem myszy. Użytkowanie klawiatury zostało ograniczone do niezbędnego minimum, chociaż możliwa jest praca bez myszy, z użyciem tylko klawiatury. Jest to jednak bardzo niedogodne. Wszystkie operacje są wykonywane na obiektach umieszczonych na ekranie. Zbiór tych obiektów łącznie z podłożem tworzy pulpit, przez podobieństwo do pulpitu biurka, na którym pracujemy. Z myszą związany jest specjalny wskaźnik na ekranie. Przesuwanie myszy w jakimś kierunku, najlepiej po czymś płaskim, powoduje przesuwanie się w tym samym kierunku jej wskaźnika. Jeśli w trakcie przesuwania myszy zabraknie miejsca na biurku, można ją w górę i położyć w bardziej dogodnym miejscu. Wskaźnik na ekranie przesuwa się tylko wtedy, gdy mysz porusza się po jakiejś powierzchni.
W myszy wykorzystywane są dwa przyciski, lewy (L) i prawy (P), i każdy z nich spełnia inne funkcje. Poniższa tabela pomoże zorientować się w najważniejszych zastosowaniach przycisków:
| Przycisk myszy | Liczba kliknięć | Zastosowanie |
| L | 1 | Wybór, zaznaczanie obiektu; w oknie dialogowym wybór z proponowanych opcji. |
| L | 1 | Uchwycenie obiektu w celu jego przesunięcia; w połączeniu z ruchem myszy jest to wykorzystywane w tzw. metodzie drag and drop (ang. przeciągnij i upuść) pozwalającej zmieniać położenie obiektów. |
| L | 2 | Na nazwie lub ikonie
pliku -uruchomienie aplikacji lub aplikacji z nią
skojarzonej, tzn. kliknięcie np. na ikonie edytora
tekstu spowoduje uruchomienie tego edytora, a kliknięcie
na ikonie dokumentu utworzonego w tym edytorze spowoduje
uruchomienie tego edytora z jednoczesnym otwarciem tego
pliku tekstowego. Na nazwie lub ikonie folderu - wyświetlenie jego zawartości. |
| P | 1 | Przy wskazywaniu obiektu lub obszaru na pulpicie - otwarcie okna dialogowego pozwalającego wykonać operacje na obiekcie; treść okna zależy od rodzaju obiektu. |
Rozpoczęcie i zakończenie pracy
Start systemu jest poprzedzany testowaniem komputera (pamięć, stacje dysków itp), po czym na ekranie pojawia się komunikat: Uruchamianie Windows 95 ... Jeśli w tym momencie naciśniemy klawisz F8, to na ekranie pojawi się:
Menu startowe Microsoft Windows 95
l. Normalny
2. Rejestrowany (\BOOTLOG.TXT)
3. Tryb awaryjny
4. Potwierdzanie krok po kroku
5. Tylko wiersz poleceń
6. Tylko wiersz poleceń trybu awaryjnego
7. Poprzednia wersja systemu MS-DOS
Wybierz: 1 Pozostało sekund: 03
Wybranie 3. jest przydatne w sytuacji sygnalizowania przez system wykrytych niesprawności funkcjonowania urządzeń lub błędów w plikach systemowych. Selektywne wykonywanie poleceń zawartych w plikach konfiguracyjnych systemu zapewniają opcje 4., 5. lub 6. W sytuacjach awaryjnych pomaga to nam znaleźć przyczyny niesprawności systemu. Wybór 7. oznacza rezygnację z instalowania Windows 95 i przejście do instalowania poprzedniej wersji systemu MS-DOS. Ten sam efekt uzyskamy, naciskając zamiast F8 klawisz F4. Bywa to przydatne wtedy, gdy chcemy uruchomić program nie tolerujący środowiska graficznego Windows 95. Wybór 1. jest równoznaczny z rezygnacją ze zmian w procesie uruchamiania systemu i pozwala nam na start systemu w normalnej postaci.
Jeśli to nie jest konieczne, nie korzystamy z opisanych możliwości i start systemu Windows 95 odbywa się automatycznie bez naszego udziału. Proces startu kończy się w momencie pojawienia się na ekranie pulpitu w takiej postaci:

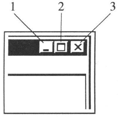
Obiekty po lewej stronie pulpitu to ikony, a wąski pasek na dole pulpitu to tzw. pasek zadań. W nim mogą pojawiać się m.in. informacje o aktywnych aplikacjach. Każda aplikacja pracuje we własnym oknie. Okno to prostokątny, obramowany fragment ekranu, nadzorowany przez system Windows 95. Możesz mieć wiele okien otwartych jednocześnie na swoim pulpicie i w każdym z nich wykonywać inny program lub wyświetlać jakiś dokument. Chociaż okno wygląda na zwykły prostokąt z wyświetloną w środku informacją, jest to obiekt dość złożony. Każde okno ma kilka elementów graficznych, które pozwalają decydować o jego położeniu i wielkości. W prawym górnym narożniku okna znajdziemy trzy symbole: przyciski Minimalizuj (1), Maksymalizuj (2) i Zamknij (3)
1- zredukowanie okna do ikony umieszczonej w pasku stanu,
2 - powiększenie okna do pełnego ekranu (lub odwrotnie),
3 - zamknięcie okna.
Ponadto każde okno posiada pasek tytułu oraz czasem paski przewijania. Przykładowe okno zawierające ponadto wewnątrz dwa pod-okna przedstawia poniższy rysunek – wygląd programu Eksplorator Windows.

Zakończenie pracy w systemie możliwe jest po kliknięciu na ikonie Start umieszczonej w pasku zadań po lewej stronie. Rozwinie się wtedy okno dialogowe:

Wybieramy polecenie Zamknij system i pojawia się okno dialogowe, w którym możemy potwierdzić chęć zamknięcia systemu Windows. Wybranie pierwszej opcji spowoduje zakończenie pracy Windows 95, po czym uzyskamy pozwolenie na wyłączenie komputera. Pamiętajmy o poczekaniu na komunikat zezwalający na wyłączenie, gdyż w tym czasie system zamyka m.in. wszystkie otwarte aplikacje. Pozwala to nam uchronić się przed utratą wyników pracy na skutek zapomnienia o ich zapisaniu na dysku.
Drugą opcję wykorzystujemy najczęściej po instalacji nowych programów. Niektóre z nich wymagają po przeprowadzeniu instalacji ponownego uruchomienia Windows 95 i wtedy ta opcja jest przydatna. Opcja trzecia jest przydatna przy uruchamianiu tych programów stworzonych dla starszego systemu DOS, które nie chcą pracować w środowisku Windows.
Menu Start
Przedstawione na poprzednim menu Start daje możliwość korzystania z wielu przydatnych narzędzi:
Organizacja zbiorów, czyli pliki i foldery
Za każdym razem, gdy tworzysz nowy dokument w programie takim jak Paint czy Microsoft Word, musisz zachować (zapisać) ten dokument w swoim komputerze w postaci pliku. Zapisując plik musisz mu nadać jakąś nazwę. Nazwy plików mogą być niemal dowolnie długie (do 255 znaków) i mogą zawierać spacje (odstępy).
Gdy zapisujesz plik, jest on zachowywany w komputerze na jakimś dysku. Zasada jest niemal taka sama jak przy nagrywaniu muzyki na taśmie magnetofonowej. Każdy plik jest identyfikowany na podstawie nadanej mu przez Ciebie nazwy i zajmuje określone miejsce na dysku. Gdy chcesz otworzyć lub odczytać taki plik w jakimś programie, stacja dysków odnajduje ten plik u siebie i przekazuje jego zawartość do aplikacji.
Aby móc pogrupować swoje pliki, musisz utworzyć foldery. Każdy folder może zawierać dowolną liczbę zwykłych plików. Gdy zapisujesz jakiś plik dokumentu, musisz wskazać folder, w którym ten plik zostanie umieszczony. Możesz również przenieść później taki plik z jednego foldera do drugiego. Umieszczając poszczególne pliki w różnych folderach możesz wprowadzić ład wśród swoich danych zapisanych w komputerze. Znacznie ułatwi to szukanie konkretnych plików, kiedy okaże się, że są Ci one znowu potrzebne.
W trakcie pracy będziesz prawdopodobnie tworzył mnóstwo dokumentów. Dla wygody należy trzymać te dokumenty w folderach. Foldery przypominają organizowania teczki używane w kartotekach. Każdy folder może zawierać jeden lub wiele dokumentów. Foldery z kolei są trzymane na dysku twardym, który jest czymś w rodzaju ogromnej szafy znajdującej się wewnątrz komputera. Foldery oraz dokumenty mogą być również przechowywane na dyskietce (małej, przenośnej szafce?).
Pliki programów też są przechowywane w folderach. Podczas instalowania nowej aplikacji program instalacyjny zakłada w tym celu na dysku twardym specjalny nowy folder, po czym kopiuje do niego wszystkie pliki niezbędne do działania aplikacji. Pliki programów składających się na jedną aplikację są zazwyczaj odseparowane od plików programów należących do innych aplikacji.
Tak jak w dużej teczce papierowej w szufladzie możesz trzymać kilka mniejszych teczek z dokumentami, tak samo w jednym folderze na dysku możesz mieć oprócz plików zwykłych kilka innych folderów, zwanych wówczas podfolderami. Taka wielopoziomowa organizacja folderów pozwala na bardzo efektywne organizowanie dostępu do poszczególnych plików w systemie.

Przeglądanie systemu plików
Do przeglądania zawartości systemu plików można używać narzędzia Eksplorator Windows lub skrótu Mój komputer. Narzędzie to pozwala również zmienić sposób wyświetlania informacji w jego oknie.
Po dwukrotnym kliknięciu na
ikonie Mój komputer pojawia się okno:
Zawartość tego okna (zależna od wyposażenia komputera) to graficzne przedstawienie zainstalowanych w komputerze napędów dyskietek (A: i B:), dysków twardych (C:) oraz czytnika płyt kompaktowych - CD ROM (D:).
Poza tym znajdują się tam ikony:
Przeglądanie zbiorów
Oznaczenia dysków są zgodne ze standardem przyjętym w jeszcze systemie DOS. Litery A i B są zarezerwowane dla stacji dyskietek elastycznych, natomiast począwszy od litery C oznaczamy dyski twarde lub ich tzw. partycje, czyli logicznie wydzielone części traktowane jak samodzielne dyski.
Zawartość wybranego dysku
zobaczymy po dwukrotnym kliknięciu na jego ikonie. Rozwinie się
wówczas następujące okno:
Formę i zakres informacji zawartej w oknie możemy zmieniać, wykorzystując polecenia zawarte w rozwijanym menu Widok. Podwójne kliknięcie na ikonie folderu przyniesie efekt w postaci kolejnego okna zawierającego zawartość wybranego folderu.
Uruchamianie programów
Najprostszym sposobem uruchomienia programu jest wyszukanie jego ikony z pomocą Mojego komputera, a następnie podwójne kliknięcie na tej ikonie lewym przyciskiem. Dla uruchamiania najczęściej używanych programów wygodnie jest posługiwać się tzw. skrótem. Pojawia się ono w postaci ikony naszego programu z podpisem Skrót do... z dodatkowym symbolem w postaci "zakręconej" strzałki. Użycie tego narzędzia pozwala nam ominąć; czasami długi i żmudny, etap przeglądania zbiorów w celu wyszukania ikony potrzebnego programu. W celu utworzenia na pulpicie skrótu wystarczy uchwycić ikonę programu i przeciągnąć ją w obszar pulpitu, a następnie puścić. Tak utworzony skrót możemy umieścić w dowolnym miejscu na pulpicie. Aby uruchomić program reprezentowany przez skrót, wystarczy kliknąć lewym przyciskiem na ikonie skrótu. Nie wykorzystywany skrót usuwamy poprzez przesunięcie do Kosza.
Operacje na zbiorach - kopiowanie, usuwanie, zmiana nazwy
Najdogodniejsza metoda kopiowania wykorzystuje opisany wcześniej mechanizm drag and drop. Otwieramy dwa okna: jedno zawierające obiekt, który ma być kopiowany (np. dysk C:) i drugie - docelowe, przedstawiające dysk lub folder, do którego obiekt ma zostać skopiowany (np. dyskietka 3,5" - A:). Na ikonie wybranego obiektu umieszczamy kursor myszy i przytrzymując naciśnięty lewy przycisk przeciągamy go do okna docelowego. Po zwolnieniu przycisku myszy obiekt jest przekopiowany w wybrane miejsce.
UWAGA!
Jeżeli opisaną operację wykonamy w obrębie tego samego dysku, to wybrany element zostanie przeniesiony, a nie skopiowany.
W celu usunięcia obiektu (pliku lub folderu) należy na jego ikonie kliknąć prawy przycisk myszy i wybrać operację Usuń lub przeciągnąć obiekt do Kosza.
UWAGA !
Usuwanie całych programów, jeśli to możliwe, powinno przebiegać inaczej. Należy poszukać programów narzędziowych przeprowadzających tzw. deinstalację (ang. uninstall) programu i im zlecić wykonanie tej operacji (można też skorzystać z Panelu sterowania i operacji Dodaj/Usuń programy). Nowe wersje dobrych programów przeznaczonych dla środowiska Windows prawie zawsze są w te narzędzia wyposażone. Samodzielne usuwanie programów wymaga dokładnej wiedzy o tym, jakie pliki lub foldery i skąd należy usunąć oraz jakie zmiany trzeba wprowadzić w plikach systemowych.
Każdy obiekt jest oznaczony ikoną i nazwą. Nazwę można zmienić po kliknięciu na polu nazwy, pod ikoną (można też wykorzystać polecenie Zmień nazwę z okna dialogowego wyświetlanego po naciśnięciu prawego guzika myszy). Po pojawieniu się migającego kursora tekstowego w ramce z
nazwą, możemy usunąć dotychczasową nazwę (klawisze DELETE lub BACKSPACE) i wpisać nową.
Nowy obiekt możemy utworzyć w oknie np. dysku, po umieszczeniu kursora myszy w obszarze okna i pojedynczym kliknięciu prawym przyciskiem. W pojawiającym się oknie wybieramy opcję Nowy obiekt, a to z kolei powoduje pokazanie się kolejnego okna, w którym wybieramy rodzaj obiektu.
Chcąc uzyskać dodatkowe informacje o obiekcie (np. typ, lokalizacja, rozmiar, pojemność), wykorzystujemy opcję Właściwości. W zależności od rodzaju obiektu pojawiające się wówczas okno może mieć różny wygląd, ale zawiera zwykle podobny zestaw informacji.
Szukanie dokumentów w Windows 95
Aby odszukać w komputerze konkretną informację, taką jak na przykład list, musisz najpierw zrozumieć, w jaki sposób komputery przechowują informacje. Wszystkie dane w komputerze trzymane są w postaci plików, czyli noszących własne nazwy zestawów informacji. Gdy za pomocą jakiegoś programu wprowadzasz do komputera nową informację, na przykład list, zachowujesz ją w pliku dokumentu (z reguły zwanym po prostu dokumentem). Tworzone przez Ciebie dokumenty mogą zawierać listy, raporty, slajdy, tabele, wykresy, rysunki lub wykazy.
Zastanawiając się nad swoją pracą myślisz z reguły o jej efekcie końcowym, na przykład o liście, a nie o programie Microsoft Word, za pomocą którego tworzysz ten list. W systemie Windows 95 możesz wyszukiwać różne istniejące dokumenty i otwierać je od razu, bez wcześniejszego odszukiwania i uruchamiania programu, za pomocą którego zostały utworzone. Do znalezienia dokumentu trzymanego w dowolnym folderze, stacji dysków, a nawet w innym komputerze podłączonym do sieci, możesz użyć jednego z trzech dostępnych narzędzi. Są to:
Korzystanie z systemu Pomocy w Windows 95
Jeśli potrzebujesz dodatkowych informacji na temat jakiejś procedury lub sposobu działania konkretnej opcji w Twoim komputerze, to najlepszym sposobem jest skorzystanie z dostępnego na bieżąco systemu Pomoc. W Windows 95 system Pomoc jest dostępny z menu Start. Okno dialogowe Pomoc pozwala wybrać rodzaj pomocy, której akurat potrzebujesz.
Jeśli szukasz pomocy na tematy ogólne, możesz przejrzeć spis treści systemu Pomoc. Możesz także przejrzeć indeks i poszukać w nim informacji bardziej szczegółowych. Informacje dostarczane przez system Pomoc są krótkie, zwięzłe i pojawiają się na ekranie bardzo szybko. W wielu miejscach systemu Pomoc dostępne są również przyciski pozwalające przyspieszyć wykonanie różnych operacji.
Przeglądanie zawartości systemu Pomoc
Na karcie Spis treści w oknie Pomoc znajduje się coś w rodzaju spisu rozdziałów książki. Po wybraniu jakiegoś ogólnego tematu, czyli rozdziału, pojawia się bardziej szczegółowa lista tematów, z których możesz wybierać. Wiele z tych rozdziałów ma specjalną część zatytułowaną "Wskazówki", która pomaga w osiągnięciu większej efektywności pracy.
Szukanie pomocy na konkretny temat
Są dwie metody szukania w systemie Pomoc informacji na konkretny temat: za pomocą karty Indeks oraz za pomocą karty Znajdź. Karta Indeks ma układ podobny jak skorowidz w książce. Kolejne pozycje zaczynają się od słów kluczowych i tworzą listę uporządkowaną alfabetycznie. Możesz sam przewijać tę listę. Możesz także wpisać w odpowiednim polu słowo kluczowe, którego poszukujesz.
W tym drugim przypadku dostaniesz od razu listę z jedną lub kilkoma pozycjami, które zaczynają się od podanego hasła. Karta Znajdź również pozwala wpisywać poszukiwane słowo kluczowe. Główna
różnica polega jednak na tym, że w efekcie dostajesz listę pozycji skorowidza, które zawierają podane hasło gdziekolwiek, a nie tylko na początku.
Ćwiczenia
a) skopiuj do niego 3 dowolnie wybrane pliki z dowolnych folderów,
b) zmień nazwy tych plików,
c) dowolny z tych plików przenieś do Kosza,
d) folder NOWY przenieś do Kosza,
e) przejrzyj zawartość Kosza,
f) usuń zawartość Kosza.